一直以来,Garmin 推出的各种户外智能手表都具有太阳能充电功能,理论上可以提供无限的电池续航时间。实际上,Instinct 3 Solar 和 Fenix 7 Pro Solar(亚马逊当前售价 449 美元)等产品的电池续航时间在三到五周之间,具体取决于每天接触阳光的时间。
迄今为止,Garmin 只为配备像素记忆(MiP)显示屏的智能手表提供太阳能充电服务。因此,Fenix 8 Solar 和 Tactix 8 Solar 没有采用 Fenix E 和普通 Fenix 8 中更鲜艳的 AMOLED 面板技术。同时,由于 Garmin 将其最新的 Pro 品牌智能手表限制为 AMOLED 和 microLED 显示屏,目前还没有太阳能版的 Fenix 8 Pro。
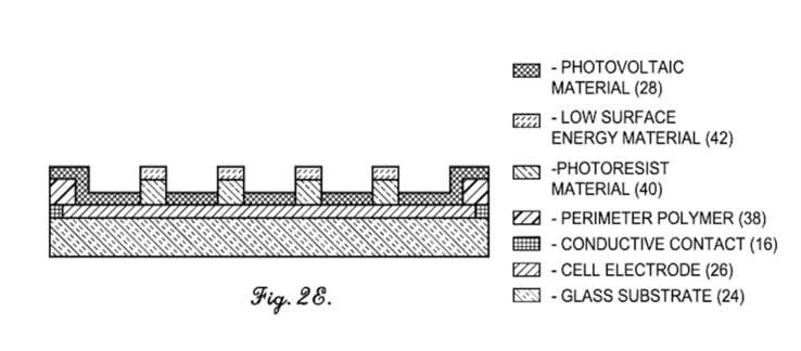
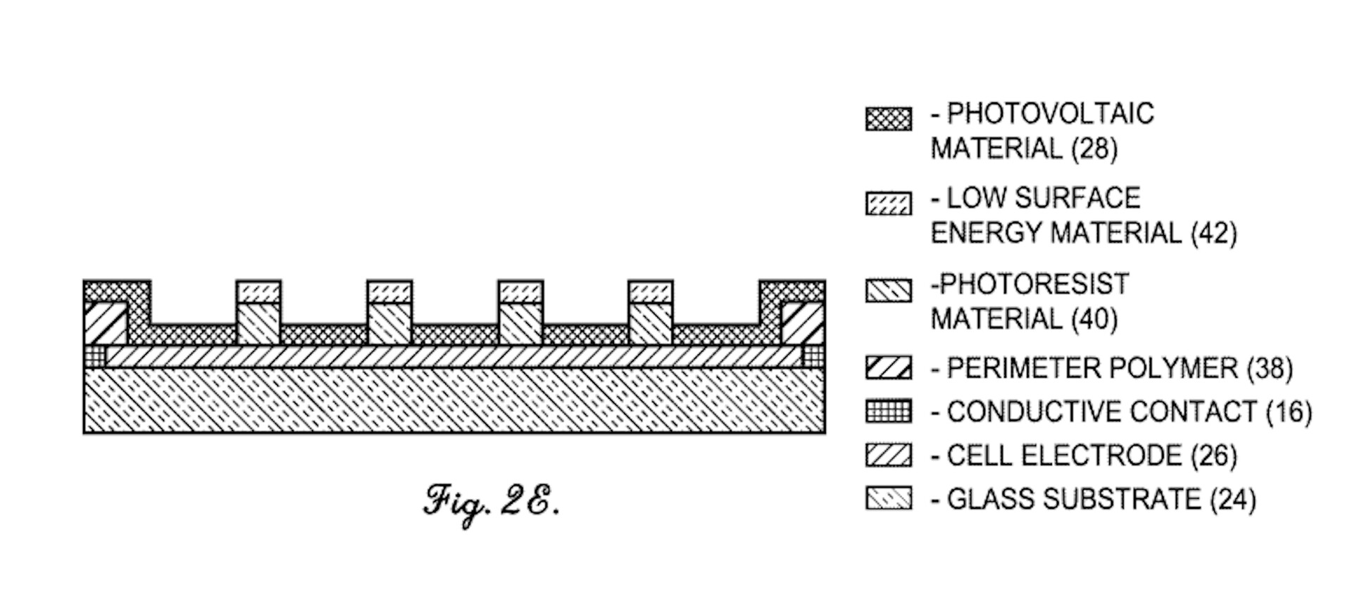
不过,最近公布的一项专利表明,Garmin 希望通过重新设计太阳能电池的实现方式来改变目前的这一限制。该专利以US 2025/0359354 A1 向美国专利商标局(USPTO)提交。该专利描述了一种半透明太阳能电池,不会影响 AMOLED 面板的可视性。
因此,像Gadgets & Wearables 这样的网站猜测,Garmin 正在努力实现这一目标。等网站猜测,Garmin 正在努力推出配备 AMOLED 显示屏和太阳能充电功能的高端智能手表。美国专利商标局 11 月 20 日才授予这项专利。因此,我们怀疑 Garmin 距离大规模生产这项技术还有几年的时间。因此,我们预计 Fenix 9 Pro 智能手表不会在 2027 年前问世。
» Notebookcheck多媒体笔记本电脑Top 10排名
» Notebookcheck游戏笔记本电脑Top 10排名
» Notebookcheck低价办公/商务笔记本电脑Top 10排名
» Notebookcheck高端办公/商务笔记本电脑Top 10排名
» Notebookcheck工作站笔记本电脑Top 10排名
» Notebookcheck亚笔记本电脑Top 10排名
» Notebookcheck超级本产品Top 10排名
» Notebookcheck变形本产品Top 10排名
» Notebookcheck平板电脑Top 10排名
» Notebookcheck智能手机Top 10排名
» Notebookcheck评测过最出色的笔记本电脑屏幕
» Notebookcheck售价500欧元以下笔记本电脑Top 10排名
» Notebookcheck售价300欧元以下笔记本电脑Top 10排名












