虽然三星 2026 旗舰手机的主摄像头--S26 Ultra Galaxy S26 Ultra - 的主摄像头在传感器像素方面可能保持不变,但据报道,该公司正准备对其他硬件进行改动,以使其更加出色。
临近Galaxy S26 Ultra 发布时,三星可能会推出新的 1/1.3 英寸 ISOCELL 传感器,因为自 2023 年以来,三星一直在使用Galaxy S25 Ultra 目前搭载的 HP2 传感器。
三星通常每三年对Galaxy S 系列相机进行一次升级,因此据说Galaxy S26 Ultra 的相机将采用优化的像素结构,从而提高感光度,同时还将采用新的光学元件。
三星Galaxy S26 Ultra 摄像头
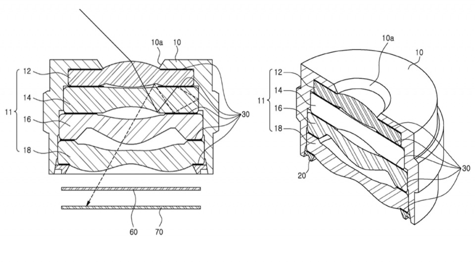
现在,一份新的报告揭示了传言中的Galaxy S26 系列摄像头光学元件升级可能带来的影响。韩国业内人士透露,三星发明了一种新的镜头生产方法,可使整个手机摄像头组件更薄。
三星将不再在镜头肋面之间使用覆盖膜来防止耀斑和鬼影伪影到达传感器并扭曲图像,而是采用喷墨打印技术。这样,在现代手机摄像头光学器件的多个镜片之间就有了更薄的防鬼影层,从而使整个摄像头装置更加紧凑。
由于相机组件是旗舰手机中最厚的部件,因此更小的模块不仅能使机身更纤薄,还能削去背面的相机突起,使整体外观更优雅。
因此,新的印刷镜头生产方法将使三星追随其在纤薄手机Galaxy S25 Edge 上掀起的潮流,该手机将于 5 月 30 日发布,但目前已可在亚马逊上以 170 美元的折扣价预购。
超薄手机是大势所趋,据传三星不仅会用 S26 Edge机型取代 Plus 系列手机,而且还将尝试对整个Galaxy S26 系列手机进行瘦身。
S25 Edge Galaxy S25 Edge厚度仅为 0.23 英寸(5.8 毫米),但却配备了 200 万像素摄像头传感器。Galaxy S26 Ultra 的主摄像头可能采用相同尺寸的传感器,但光学元件更为复杂,因此三星需要想尽一切办法使模块更薄,从而使 S26 Ultra 更小巧。
资料来源
» Notebookcheck多媒体笔记本电脑Top 10排名
» Notebookcheck游戏笔记本电脑Top 10排名
» Notebookcheck低价办公/商务笔记本电脑Top 10排名
» Notebookcheck高端办公/商务笔记本电脑Top 10排名
» Notebookcheck工作站笔记本电脑Top 10排名
» Notebookcheck亚笔记本电脑Top 10排名
» Notebookcheck超级本产品Top 10排名
» Notebookcheck变形本产品Top 10排名
» Notebookcheck平板电脑Top 10排名
» Notebookcheck智能手机Top 10排名
» Notebookcheck评测过最出色的笔记本电脑屏幕
» Notebookcheck售价500欧元以下笔记本电脑Top 10排名
» Notebookcheck售价300欧元以下笔记本电脑Top 10排名



















