在 tech4gamers.com 发现的一项新专利中,AMD 表达了对 DDR5 标准带宽限制的担忧,尤其是在目前对人工智能计算能力的需求不断增长的情况下。而 英伟达和内存芯片生产商如 三星, SK 海力士和 美光三星、SK 海力士和美光都在关注SOCAMM2而 AMD 则提出了一种更易于在现有DDR5系统(无论是消费类还是数据中心解决方案)中实施的替代方案。
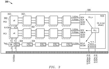
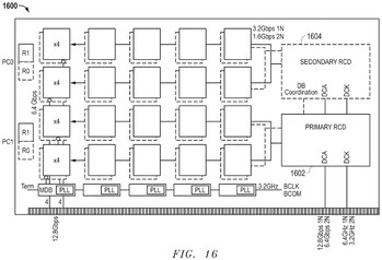
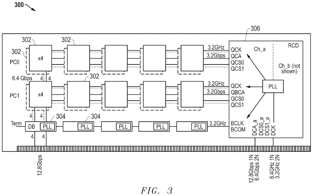
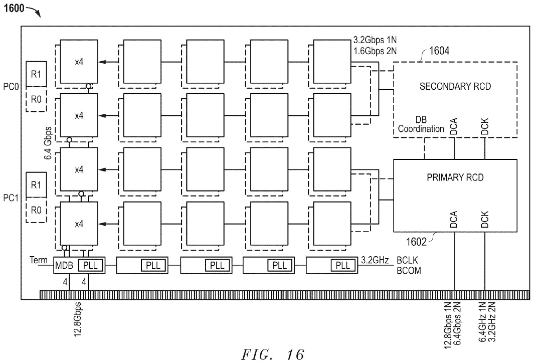
AMD 改进后的内存标准采用 "高带宽内存模块架构",可将目前 DDR5 6.4 Gbps 的最大带宽提高一倍。值得注意的是,12.8 Gbps 的带宽是在不修改 DRAM 芯片设计的情况下实现的。相反,DRAM 芯片被放置在高带宽双列直插式内存模块(HB-DIMM)上。模块还集成了一系列额外的硬件组件,如特殊的缓冲器芯片,使数据传输速度比 DDR5 标准快两倍。此外,该模块还利用寄存器时钟驱动器(RCD)更有效地路由信号,并行访问内存,从而打破了 DDR5 标准的吞吐量限制。
专利文件指出,HB-DIMM 允许在伪通道和四通道模式之间快速切换,使该解决方案适用于高性能计算、人工智能用例以及游戏系统。借助灵活的时钟模式和非交错数据传输格式,DDR5 兼容性得到了保证,从而保持了信号完整性和低延迟。
看起来,HB-DIMM 与Micron 现有的 MRDIMM(多路复用级双列直插式内存模块)标准非常相似。.不过,MRDIMM 仅适用于英特尔的至强 Granite Rapids 平台,因此 AMD 可能希望在未来的 EPYC 处理器中采用类似的技术。Phoronix最近发布了一项 DDR5-6400 与 MRDIMM-8800 的对比测试,美光专有标准似乎确实更快,但肯定不是 DDR5 的两倍。
SOCAMM2 目前获得了更多的行业支持,因此 AMD 的 HB-DIMM 可能很难获得采用,至少在 HPC 和服务器领域是这样。
资料来源
» Notebookcheck多媒体笔记本电脑Top 10排名
» Notebookcheck游戏笔记本电脑Top 10排名
» Notebookcheck低价办公/商务笔记本电脑Top 10排名
» Notebookcheck高端办公/商务笔记本电脑Top 10排名
» Notebookcheck工作站笔记本电脑Top 10排名
» Notebookcheck亚笔记本电脑Top 10排名
» Notebookcheck超级本产品Top 10排名
» Notebookcheck变形本产品Top 10排名
» Notebookcheck平板电脑Top 10排名
» Notebookcheck智能手机Top 10排名
» Notebookcheck评测过最出色的笔记本电脑屏幕
» Notebookcheck售价500欧元以下笔记本电脑Top 10排名
» Notebookcheck售价300欧元以下笔记本电脑Top 10排名









