三星显示器是三星电子的子公司,经常在消费电子展(CES)、世界移动通信大会(MWC)等展会上展示概念产品。例如,这家显示器制造商利用 MWC 2025 展示了各种创新产品,包括 Flex Gaming和 柔性公文包.
通常情况下,这些概念仅停留在概念层面,从未实现量产。不过,三星显示器似乎也利用 MWC 2025 发布了可折叠面板,这将是三星的 首款消费者三折和 的继任者的 Galaxy Z Fold6(目前售价 1,099 美元,亚马逊上已更新)的继任者。
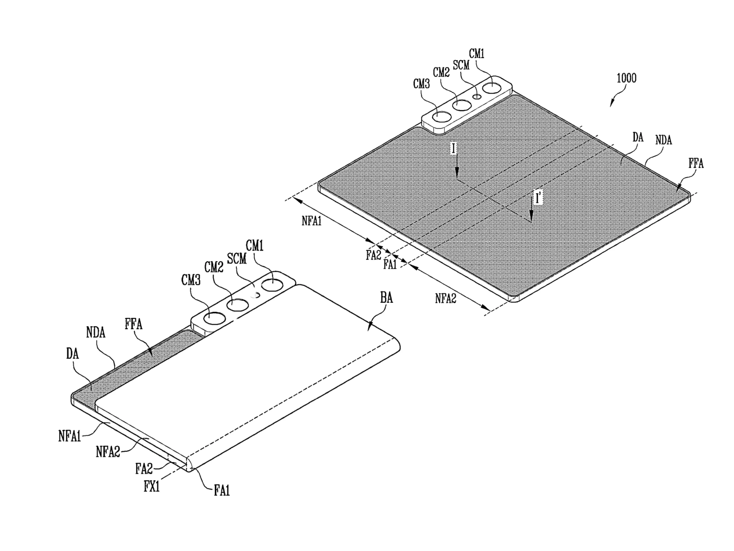
现在,该公司已获得美国专利商标局(USPTO)的设计批准。(USPTO) 批准了一项全新的可折叠外形设计。正如下面的专利图所示,这一概念可以将显示屏向内和向外折叠,而不是像现有的消费类可折叠产品那样只能单向折叠。实际上,这一概念结合了Galaxy Z Fold 和 华为 Mate Xs或 Mate Xs 2合二为一。
该专利设计不同于三星显示器在 2023 年美国消费电子展(CES 2023)上展示的 Flex In N Out 的 Flex In N Out不同。简而言之,Flex In N Out 看起来就像一款普通的可折叠设备,可以向内和向外折叠。相比之下,三星显示器的新概念则是在想象中的三摄像头阵列下方露出一部分显示屏。虽然这种设计实现的可能性很小,但我们最终还是有可能在未来的贸易展上看到三星显示器展出实物,就像它今年早些时候推出的 Flex Gaming.
» Notebookcheck多媒体笔记本电脑Top 10排名
» Notebookcheck游戏笔记本电脑Top 10排名
» Notebookcheck低价办公/商务笔记本电脑Top 10排名
» Notebookcheck高端办公/商务笔记本电脑Top 10排名
» Notebookcheck工作站笔记本电脑Top 10排名
» Notebookcheck亚笔记本电脑Top 10排名
» Notebookcheck超级本产品Top 10排名
» Notebookcheck变形本产品Top 10排名
» Notebookcheck平板电脑Top 10排名
» Notebookcheck智能手机Top 10排名
» Notebookcheck评测过最出色的笔记本电脑屏幕
» Notebookcheck售价500欧元以下笔记本电脑Top 10排名
» Notebookcheck售价300欧元以下笔记本电脑Top 10排名














