丰田正在为其部分电动汽车研发模拟手动变速器。2022 年,丰田在日本提交了一份专利申请,。表明该公司也可能在美国市场推出这项技术。在https://media.toyota.co.uk/toyota-unveils-new-technology-that-will-change-the-future-of-cars/今年早些时候,丰田公司宣布打算为电池电动汽车开发硬件和软件,使其具备驱动控制和离合器功能。
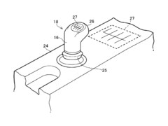
丰田的美国专利详细介绍了一种虚拟手动变速器,它使用的变速杆在设计上与普通手动挡汽车类似。图纸显示,换档装置上的图案向驾驶员指示了每个虚拟档位的位置,并表明可以使用相同的横向选择路径。这些档位与电动机产生的扭矩水平相关。文件指出,丰田公司正在考虑为车辆提供不限于六速或七速的选择,这与典型的手动挡汽车不同。此外,用户还可以选择不同的扭矩模式,以配合自己喜欢的驾驶风格。
丰田已经在雷克萨斯 UX300e 电动车上测试了这项技术。那些驾驶过概念手动电动车 的人认为这种驾驶体验非常有趣,并指出有可能 "熄火"。至于丰田集团的电动汽车是否或何时可以购买到这项技术,我们拭目以待。有传言称,在 2023 年日本移动通信展上展出的FT-Se 概念车 可能是首批配备虚拟手动变速器的车型之一。
资料来源
» Notebookcheck多媒体笔记本电脑Top 10排名
» Notebookcheck游戏笔记本电脑Top 10排名
» Notebookcheck低价办公/商务笔记本电脑Top 10排名
» Notebookcheck高端办公/商务笔记本电脑Top 10排名
» Notebookcheck工作站笔记本电脑Top 10排名
» Notebookcheck亚笔记本电脑Top 10排名
» Notebookcheck超级本产品Top 10排名
» Notebookcheck变形本产品Top 10排名
» Notebookcheck平板电脑Top 10排名
» Notebookcheck智能手机Top 10排名
» Notebookcheck评测过最出色的笔记本电脑屏幕
» Notebookcheck售价500欧元以下笔记本电脑Top 10排名
» Notebookcheck售价300欧元以下笔记本电脑Top 10排名




